The Challenge
Your next assignment at
Banana is to design and build a
tally unit that displays the total number of eBananas sold each
day. When a shipment of eBananas leaves the company, the number
of eBananas will be added to the number on the display.
Occasionally a shipment is returned, in which case the
corresponding number is subtracted.
Specifications:
You have been asked to build a register and an arithmetic unit
to perform following fundamental operations with the register,
such as, adding to and subtracting numbers from
the register, accumulating the result in the register. Design
will use the adder/subtractor logic and the binary to
seven segment display units that you have already designed. You
will build a register and integrate all the units to build the
tally unit as indicated in Figure 1.
The value to be displayed is expected to be a positive integer.
Note that the adder/subtractor unit designed was for 8-bit two's
complement numbers; however, we can still use it for positive
integer arithmetic because two's complement of a positive number
is the same number.
Register:
Design a negative edge-triggered 8-bit register using D
flip-flops. The register will have an asynchronous CLEAR input
that allows its contents to set to zero.
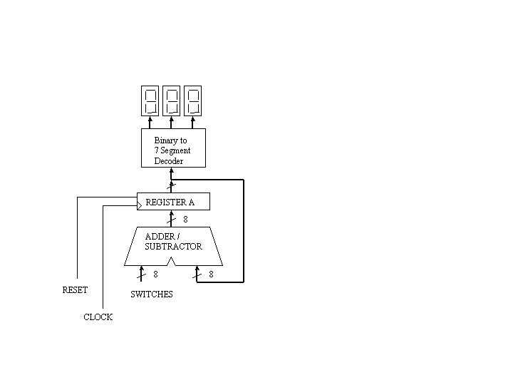
Tally Unit:
The register, called A, has capacity of 8 bits, denoted
as A7-A0. A7
holds the most significant bit of data while A0 holds
the least significant bit of data. In the previous
project, you designed an 8-bit full adder/subtractor, which can
be used to add or subtract data.
One of the inputs to the adder comes from a set of 5 switches on
the DE board which will be controlled by you. Set the three most
significant bits to zero. The other input to the
adder/subtractor is from register A. The output of the adder
replaces the data in A. This capability is called
“accumulation”. The register A thus will contain a running tally
of the total.

Figure 1. Schematic diagram of accumulator based tally
unit
Details:
REPORT
Prepare a professional memorandum addressed to the manager of the R&D group at Banana. Go to the Preparing the Memo link to review the general requirements for Banana Memos or to the What to Include in Report #8 link for the specific things to include in the Project #8 report.