The Challenge

Your next assignment at Banana is to design and build a tally unit that displays the total number of eBananas sold each day. When a shipment of eBananas leaves the company, the number of eBananas will be added to the number on the display. Occasionally a shipment is returned, in which case the corresponding number is subtracted.

Specifications:

You have been asked to build a register and an arithmetic unit to perform following fundamental operations with the register, such as, adding to and subtracting numbers from the register, accumulating the result in the register. Design will use the  adder/subtractor logic and the binary to seven segment display units that you have already designed. You will build a register and integrate all the units to build the tally unit as indicated in Figure 1.
The value to be displayed is expected to be a positive integer. Note that the adder/subtractor unit designed was for 8-bit two's complement numbers; however, we can still use it for positive integer arithmetic because two's complement of a positive number is the same number.

Register:
Design a negative edge-triggered 8-bit register using D flip-flops. The register will have an asynchronous CLEAR input that allows its contents to set to zero.

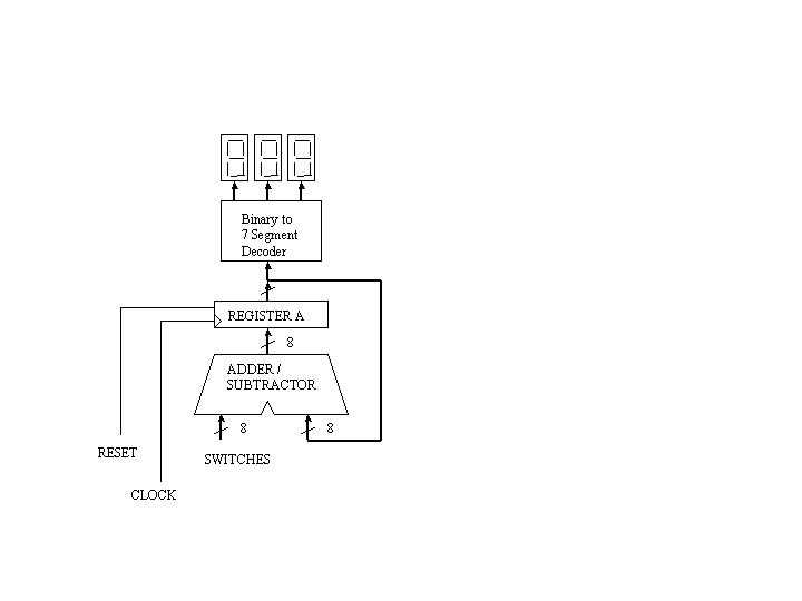
Tally Unit: 

The register, called A, has capacity of 8 bits, denoted as  A7-A0. A7 holds the most significant bit of data while A0 holds the least significant bit of data. In the previous project, you designed an 8-bit full adder/subtractor, which can be used to add or subtract data.
One of the inputs to the adder comes from a set of 5 switches on the DE board which will be controlled by you. Set the three most significant bits to zero. The other input to the adder/subtractor is from register A. The output of the adder replaces the data in A. This capability is called “accumulation”. The register A thus will contain a running tally of the total.
540
Figure 1.  Schematic diagram of accumulator based tally unit

Details:  



Extra Credit:
Once the result exceeds 255 or becomes negative, the display will not accurately reflect the tally of eBananas. Design and implement an addition to the circuit that indicates on LED7 that the tally has exceeded 255 and on LED6 that the tally has become negative. Once either LED comes on, it should remain lit until the CLEAR button is pressed.

 

REPORT

Prepare a professional memorandum addressed to the manager of the R&D group at Banana. Go to the Preparing the Memo link to review the general requirements for Banana Memos or to the What to Include in Report #8  link for the specific things to include in the Project #8 report.